首页 > 产品大全 > 张雪峰公司跨界布局 申请“张雪羔”“雪糕张”商标,布局数字文创软件开发

张雪峰公司跨界布局 申请“张雪羔”“雪糕张”商标,布局数字文创软件开发

张雪峰公司跨界布局 申请“张雪羔”“雪糕张”商标,布局数字文创软件开发

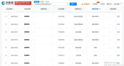
知名教育博主、峰学蔚来创始人张雪峰所属公司——苏州峰学蔚来教育科技有限公司,因其一系列新颖的商标申请而引发广泛关注。国家知识产权局商标局官网信息显示,该公司申请了“张雪羔”、“雪糕张”等多个商标,同时其经营范围新增了“数字文化创意软件开发”等内容。这一系列动作,不仅展现了企业在品牌保护与商业拓展上的前瞻性,也揭示了其在数字经济浪潮下的跨界布局新思路。

一、 商标申请:谐音梗背后的品牌保护与延伸

此次申请的“张雪羔”与“雪糕张”商标,国际分类涉及广告销售、教育娱乐等,目前状态均为“等待实质审查”。从字面看,“雪羔”与“雪糕”谐音,趣味性十足,极易引发公众联想与记忆。这体现了张雪峰及其团队敏锐的品牌嗅觉。

  1. 防御性注册:作为公众人物,“张雪峰”名字本身具有极高的辨识度和商业价值。抢先注册此类谐音、变体商标,可以有效防止他人“搭便车”、抢注,避免未来可能出现的品牌混淆与纠纷,是成熟企业品牌资产管理的重要一环。
  2. 品牌延伸探索:“雪糕”作为大众消费品,与张雪峰亲民、接地气的公众形象存在一定契合点。此类商标的申请,不排除为未来可能的消费品联名、衍生品开发或跨界营销活动预留空间,探索“教育IP”向更广阔消费领域延伸的可能性。

二、 业务拓展:进军“数字文化创意软件”的深层意涵

更值得关注的是,公司经营范围新增了“数字文化创意软件开发”。这标志着其业务版图正从传统的教育咨询与规划,积极向数字经济核心地带拓展。

  1. 契合行业趋势:数字文创是文化科技融合的新兴产业,涵盖动漫游戏、虚拟现实、数字内容制作、创意设计工具等多个领域。国家政策大力支持,市场前景广阔。涉足此领域,是企业顺应数字经济发展大潮的战略选择。
  2. 赋能教育主业:数字文创软件开发可能与教育主业形成协同。例如,开发具有文化内涵的教育类APP、沉浸式学习体验软件、课程内容创意设计工具等,利用数字技术提升教育产品的趣味性、互动性和有效性,打造差异化的竞争优势。
  3. 构建多元生态:此举也可能是张雪峰团队构建更广泛内容生态和商业生态的尝试。通过软件开发,可以沉淀技术能力,探索知识付费、线上社群、IP运营的新模式,将个人影响力与专业内容通过数字化产品更系统、更持久地变现。

三、 综合解读:从个人IP到平台化企业的升级之路

张雪峰从一位以犀利、幽默风格解读高校与专业的网红老师,到创立公司并稳步发展,其路径清晰可见:

  • 初期:依靠强烈的个人风格和精准的内容定位,打造出极具影响力的个人IP。
  • 中期:成立公司,将个人专业能力标准化、产品化(如高考志愿填报服务),实现商业化运营。
  • 现阶段:通过商标布局和拓展经营范围,显示出去个人化平台化发展的意图。商标储备为品牌多元化护航,而进军数字文创软件则是在技术层面为未来增长注入新动能。

这标志着“峰学蔚来”正试图从一个以个人为核心的教育服务提供商,向一个拥有自主知识产权、技术能力和多元业务矩阵的现代化企业演进。


张雪峰公司的商标申请与业务拓展,绝非一时兴起的玩梗或简单跨界。它反映了在激烈的市场竞争和快速变化的数字环境中,一家依托于个人IP成长起来的企业,如何通过前瞻性的知识产权布局和拥抱新技术赛道,来加固护城河、探索第二增长曲线。无论是“张雪羔”带来的品牌遐想,还是“数字文创软件”描绘的技术蓝图,都预示着这家公司正在谋划一幅超越传统教育咨询的更大版图。其后续如何将品牌热度与技术研发相结合,真正落地出受市场欢迎的产品与服务,值得持续观察。

如若转载,请注明出处:http://www.boweneducation.com/product/1.html

更新时间:2026-05-01 05:46:20